歡迎訪問沼河浸過濾器官網
技術參數
- 單臺處理水量:45-2350m³/h
- 最大工作壓力:0.1-1.6Mpa
- 過濾器清潔時的壓力損失:≤0.018Mpa
- 最高工作水溫:95℃
- 過濾精度范圍:100-3000μm
- 自清洗所需水量:<1%
- 自清洗時間:10-60秒
- 自清洗控制方式:壓差、時間及手動
- 電控方式:交流三相380V/ 50Hz
- 控制界面:數顯、旋鈕、開關
- 濾網類型:316L編織網、楔形網
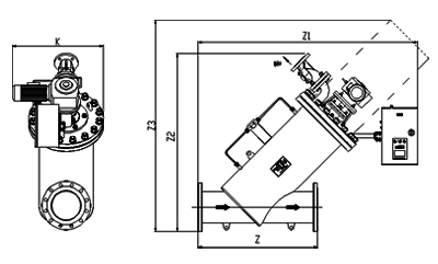
尺寸對照表
| 型號 | 管徑 | 出入水口 | Z | Z1 | Z2 | Z3 | K | 濾網面積 | 處理水量 | 重量 |
|---|---|---|---|---|---|---|---|---|---|---|
| (inch) | mm | mm | mm | mm | mm | mm | cm2 | m3/h | kg | |
| ELC-Z03 | 3 | 80 | 530 | 1118 | 785 | 914 | 572 | 1165 | 45 | 87 |
| ELC-Z04 | 4 | 100 | 540 | 1164 | 831 | 994 | 572 | 1367 | 65 | 106 |
| ELC-Z05 | 5 | 125 | 620 | 1242 | 904 | 1133 | 572 | 2095 | 105 | 132 |
| ELC-Z06 | 6 | 150 | 700 | 1328 | 982 | 1252 | 600 | 3014 | 150 | 197 |
| ELC-Z08 | 8 | 200 | 830 | 1583 | 1218 | 1679 | 630 | 5270 | 265 | 248 |
| ELC-Z10 | 10 | 250 | 1000 | 1784 | 1381 | 1797 | 650 | 7868 | 410 | 360 |
| ELC-Z12 | 12 | 300 | 1150 | 1888 | 1483 | 2148 | 740 | 11414 | 590 | 486 |
| ELC-Z14 | 14 | 350 | 1314 | 2091 | 1656 | 2460 | 844 | 15552 | 800 | 653 |
| ELC-Z16 | 16 | 400 | 1479 | 2388 | 1790 | 2610 | 957 | 20344 | 1050 | 765 |
| ELC-Z18 | 18 | 450 | 1606 | 2592 | 1964 | 2868 | 1064 | 25751 | 1320 | 814 |
| ELC-Z20 | 20 | 500 | 1812 | 2858 | 2138 | 3099 | 1173 | 31786 | 1630 | 920 |
| ELC-Z24 | 24 | 600 | 2132 | 3359 | 2486 | 3561 | 1390 | 42295 | 2350 | 1038 |
安裝圖



手機二維碼